Livraison Express 24h Livraison Express 24h : Commandez avant 17h, soyez livré demain !   Voir la sélection >

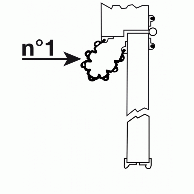
Anti pince-doigts pour porte Garomin n°1 - opposé aux paumelles WATTELEZ

Les points clés :

  • Protège les doigts contre le pincement accidentel
  • Recouvre l’interstice entre l'ouvrant et l'encadrement de la porte
  • S’adapte à tout type de porte jusqu’à 100° d’ouverture
  • Portes bois ou aluminium
  • Fabrication Française

À partir de

148,80 € TTC
124,00 € HT

1 option

  • Coloris

Référence 4 versions disponibles 4 versions disponibles

    En stock dans notre entrepôt (selon version)

    Livraison à domicile
    dès 6,90 €
    Le 11/05 (Commandez dans les --:--:-- )
    Livraison avec Mondial Relay
    dès 8,90 €
    Entre le 12/05/2026 et le 13/05/2026

    x3 Payez en plusieurs fois sans frais

    i

    Produits similaires

    Descriptif détaillé

    Description

    Cette anti-pince doigts GAROMIN® WATTELEZ permet de protéger les doigts contre le pincement lors de l'ouverture ou la fermeture d'une porte.

    • Pour portes en bois côté opposé aux paumelles, ouverture 90 - 100°, et pour portes en alu et PVC côté paumelles
    • Modèle à 7 spires conçu pour accompagner la porte en masquant un espace de 150 mm
    • Soufflets permettant une sur-extension allant jusqu'à 190 mm
    • Modèle évitant en douceur d'engager les doigts dans la feuillure de la porte
    • Hauteur : 1,4 m

    Composition de l'ensemble :

    • 1 anti pince-doigts
    • 2 profils aluminium pré-perçés

    Adapté à tous les ouvrants, le Garomin® répond à toutes les exigences actuelles en matière de prévention.

    Il existe dans l’environnement scolaire un risque à l’ouverture et à la fermeture des portes ou fenêtres.75 % des accidents à séquelles sont causés par le pincement des doigts dans les portes (source : étude Havas).

    Le besoin de mise en sécurité des portes à simple ouvrant ou va-et-vient, et des fenêtres, est prescrit par le Ministère de l’Education Nationale et de la Jeunesse et des Sports ainsi que par le Ministère de l’Intérieur et de la Direction de Sécurité Civile.

    Contenu du colis

    Livré en kit comprenant 1 anti pince-doigts, 2 profils aluminium pré-perçés, visserie.

    Caractéristiques techniques

    Classement au feu M2 
    Lieu de pose Côté opposé aux paumelles 
    Longueur de déformabilité 190 mm
    Marque WATTELEZ 
    Nombre de spires
    Type de porte Bois, aluminium et PVC 
    unité de vente 1 kit 
    Code fabricant
    • 606014N+811473/LEGALLAIS X2+811475/LEGAL
    • 606014B+811473/LEGALLAIS X2+811475/LEGAL
    • 606014G+811473/LEGALLAIS X2+811475/LEGAL
    • 606014BEI+811473/LEGALLAIS X2+811475/LEG
    Coloris

    Documents techniques

    Les accessoires

    Questions / Réponses

    Soyez le premier
    à poser une question !
    Exemples de questions :
    - Quelle est la durée de vie du produit ?
    - Est-ce que le produit est facile à utiliser ?

    Besoin d'aide

    Nous sommes à votre écoute

    Je suis

    Image contact particulier Image contact particulier Image contact particulier
    Image contact professionnel Image contact professionnel Image contact professionnel
    Service client

    Pour toute question sur un produit,

    votre commande, un SAV :

    Service commercial

    Une demande de cotation

    ou de devis :

    Avis clients

    Note

    5/5 1 avis

    1 avis vérifiés

    100.0% Complete
    1
    0.0% Complete
    0
    0.0% Complete
    0
    0.0% Complete
    0
    0.0% Complete
    0

    Photos de nos clients

    Il n'y a pas encore de photos laissées par nos clients. Soyez le premier !

    aucun avis photo
    • Thomachot J.

      publié le 15/08/2025

      5 / 5

      conforme a ce que j' attendais et recu tres rapidement

      Réf. article : 578598

      Commandé le : 08/08/2025

    Voir aussi

    Derniers produits vus